Dampers | Fire and Smoke Dampers
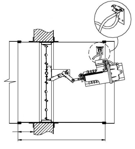
Safe-Air Dowco has many years of experience in making UL555 and UL555S classified Combination Fire and Smoke Dampers to protect openings through fire and smoke rated walls and floors. Our combination fire and smoke dampers come with damper, heat sensor, and actuator mounted in a common sleeve (standard length 16", depending on model), and most dampers are rated for both horizontal and vertical mounting to the same maximum size limitations.
Models variants include Class I and Class II leakage rated, 1.5-hour and 3-hour rated, V- and Airfoil blade arrangements, Corridor, and Out-of-Partition--we have solutions for traditional fire partition penetrations as well as special situations such as duct terminals and dampers requiring grille access.
A full listing of our product offering may be found below along with some summary statistics for each model; if you click on the orange triangle on the right side, you will find further information regarding each model including product submittals.
| Model | Blade Style | Rating 1½HR or 3HR | Dynamic Static | Mounting | Min Size W x H | Max Single Section W xH | Class | Blade Conf. | Blade Width | Blade Gauge | Frame Width | |||||||||||||||||||||||
| 471 (Corridor) |
|
|
|
|
|
|
|
|
|
|
|
Details | ||||||||||||||||||||||
| 472 (Corridor) |
|
|
|
|
|
|
|
|
|
|
|
Details | ||||||||||||||||||||||
| 770-TR True Round Fire/Smoke Damper |
|
|
|
|
|
|
|
|
|
|
|
Details | ||||||||||||||||||||||
|
Model 770-TR Damper is ideal for applications where building codes require both a fire damper for the protection of ductwork penetrations in walls or floors that have a fire resistance rating of up to 2 hours and also require a leakage... Read More » |
||||||||||||||||||||||||||||||||||
| 770-TR-SS Stainless Steel True Round Fire/Smoke Damper |
|
|
|
|
|
|
|
|
|
|
|
Details | ||||||||||||||||||||||
|
Model 770-TR-SS damper is ideal for high humidity or mildly corrosive applications where building codes require both a fire damper for the protection of ductwork penetrations in walls or floors that have a fire resistance rating of up to 2... Read More » |
||||||||||||||||||||||||||||||||||
| 771 |
|
|
|
|
|
|
|
|
|
|
|
Details | ||||||||||||||||||||||
| 771-3 |
|
|
|
|
|
|
|
|
|
|
|
Details | ||||||||||||||||||||||
| 771-OP (Out of Partition) |
|
|
|
|
|
|
|
|
|
|
|
Details | ||||||||||||||||||||||
| 772 |
|
|
|
|
|
|
|
|
|
|
|
Details | ||||||||||||||||||||||
| 772-3 |
|
|
|
|
|
|
|
|
|
|
|
Details | ||||||||||||||||||||||
| 772-OP (Out of Partition) |
|
|
|
|
|
|
|
|
|
|
|
Details | ||||||||||||||||||||||
| 772M |
|
|
|
|
|
|
|
|
|
|
|
Details | ||||||||||||||||||||||
| 772M-3 |
|
|
|
|
|
|
|
|
|
|
|
Details | ||||||||||||||||||||||
| 781 |
|
|
|
|
|
|
|
|
|
|
|
Details | ||||||||||||||||||||||
| 781-3 |
|
|
|
|
|
|
|
|
|
|
|
Details | ||||||||||||||||||||||
| 782 |
|
|
|
|
|
|
|
|
|
|
|
Details | ||||||||||||||||||||||
| 782-3 |
|
|
|
|
|
|
|
|
|
|
|
Details | ||||||||||||||||||||||
| Combination Fire/Smoke Damper |
|
Details | ||||||||||||||||||||||||||||||||
| Corridor Fire/Smoke Damper |
|
Details | ||||||||||||||||||||||||||||||||
| Out-Of-Partition Fire/Smoke Damper |
|
Details | ||||||||||||||||||||||||||||||||



